1.用途
適用于濕陷性黃土壓實和大面積深填土石方的壓實工作。
2.主要結構及工作原理
沖擊式壓路機由牽引車和壓實裝置兩部分組成,中間通過十字緩沖連接組件相連。


圖10-17 5YCT18型壓路機結構圖
1-牽引車;2-十字緩沖連接組件;3-壓路機機架;4-五邊壓實輪;5-機架行走輪胎
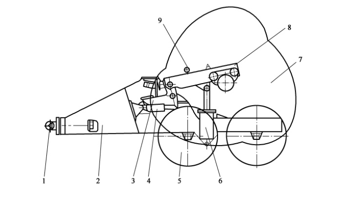
以5YCT18沖擊式壓路機為例,如圖10-17所示。牽引車分前、后車架,中間用轉向鉸連接作為液壓油缸轉向機構的回轉中心。前車架放置發動機、液力變速器、前轎及駕駛室等部件。壓實裝置主要由壓實輪組件7、機架2、連桿架8、行走車輪5、連接頭1、防轉器 9和液壓油缸 6等組成,如圖10-18所示。
由擺桿、限位橡膠塊和緩沖液壓油缸等部分組成的緩沖機構是為了防止和減少沖擊輪對機架的沖擊。沖擊輪 (壓實輪 )是工作部件,為兩個由幾段曲線組成的非圓柱形滾筒,分布于機架兩側,中間通過輪軸相連,滾筒用厚鋼板焊接而成。由提升油缸、防轉器、連桿架、行走輪胎等組成的提升機構和行走機構,主要是用來短途轉移和更換施工場地。當提升液壓缸伸長時,兩個沖擊輪離開地面,這時全部重量由 4個行走輪胎承擔,在牽引車的拖動下實現場地轉移。防轉器是為了防止在工地短途轉移時沖擊輪自由轉動。

圖10-18 3YCT25壓實裝置
1-連接頭;2-機架;3-擺桿;4-油缸;5-行走輪胎;6-提升油缸;7-三線壓實輪組件;8-連桿架;9-防轉器
通過十字連接裝置將壓實裝置與牽引車相連接,連接裝置由牽引板、十字接頭、銷軸、牽引軸、法蘭盤和緩沖橡膠套組成,可緩沖沖擊輪對牽引車的沖擊,并在牽引過程中改善其受力狀況,可保證牽引車與壓實裝置之間具有 3個轉動自由度。
當牽引車拖動壓實輪向前滾動時,壓實輪重心離地面的高度上下交替變化,產生的勢能和動能集中向前、向下碾壓,形成巨大的沖擊波,通過多邊弧形輪子連續均勻地沖擊地面,使土體均勻致密。
沖擊式壓路機對高填方路段、松沙土原地基的土質壓實和石質擠密非常有效。對于那些原地基土質不好的工程,可直接壓實而不需換土和分層填方與壓實;對于含水率范圍的要求很寬,可大大減少干性土的加水量并能將過濕的地基排干,加速軟土地基的穩定;對于填方層的壓實,每次填方厚度可達 0.5 ~ 1m,壓實速度高達 12km/h。沖擊式壓路機還可用于破碎舊水泥混凝土路面或瀝青混凝土路面,包括去除再生前的破碎、毛石破碎、鋼筋破碎和深層破碎等。壓實能量與沖擊面的寬度、鋪層厚度、工作速度有關。 |